| Autore |
Discussione  |
|
HENKA
Utente Attivo
  
Veneto
740 Messaggi |
Inserito il - 23/12/2008 : 13:06:40
|
| io per fare entrare bene l'asse sui forcellini ci ho dato un po' di lima... e l'alluminio mi è sembrato mooolto tenero! |
city bike Frera, 8FUN da alcedoitalia, dennj 36V 9,5Ah x2 e cammy_cc 48v 10ah x2, watt's up | dahon Ht060 |city bike Olympia, nine 154 36v da wheelkits, dennj 36v 8,1Ah | cinesona 36v | nine fr 154 35v da solo
|
 |
|
|
giordano5847
Utente Master
    

Lombardia
4164 Messaggi |
Inserito il - 23/12/2008 : 15:07:14
|
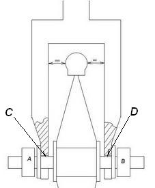
| job ha scritto: Dici che questa cosa sia pericolosa? L'asse deve toccare assolutamente il fondo dei forcellini? non puo' stare sollevato neanche di qualche decimo di millimetro?
|
Immagine:
 8,58 KB Con i dadi A e B allentati la ruota deve rimanere centrata fra gli steli della forca; il fondo della forchetta "C" e "D" devono appoggiare sul perno della ruota. E' difficile che stia in centro solo per l'attrito generato dai due dadi e rondelle. I freni devono stringere il cerchio senza spinte laterali. Ho notato che sulla mia bianchi 928, quanto ho detto sopra, non era stato rispettato anche se di poco. Ogni volta che dovevo rimontare la ruota anteriore dovevo centrarla stringendo i freni per poi stringere il galletto del perno con il rischio che con qualche buca si spostasse. Ho limato il fondo della forchetta ed ora è perfetta. Scusate il disegnino. |
Fuggi quello studio del quale la resultante opera more coll'operante d'essa. (Leonardo) |
 |
|
|
ghironda
Utente Senior
   
Emilia Romagna
1365 Messaggi |
Inserito il - 23/12/2008 : 15:22:10
|
| giordano5847 ha scritto: Scusate il disegnino.
|
Il disegnino è perfetto e la descrizione è ottima!
Un vecchio sistema per testare il centraggio dell'insieme consiste nel misurare la distanza fra cerchione e steli della forcella. Poi si sfila la ruota e la si monta al contrari e si ripete la misura.
I casi possono essere 3
- le distanze sono sempre uguali = tutto sembra perfettamente centrato - le distanze sono diverse e cambiano lato quando si monta la ruota al contrario = la ruota non è ben centrata sul suo mozzo. - le distanze sono diverse e rimangono tali anche montando la ruota al contrario = la ruota è centrata sul suo mozzo ma i forcellini hanno diverse profondità e devono essere pareggiati fino a verificare il primo caso. (esattamente come ha fatto Giordano!) |
 |
|
|
joffa
Utente Master
    

3956 Messaggi |
Inserito il - 23/12/2008 : 17:04:18
|
I torque arms possono aiutare davvero solo se sono molto precisi come inserimento sul perno e se sono molto ben serrati e quindi ancora una volta precisi, sulla forcella. Costruire torque arms come questi si può, ma costano un occhio. Farli con pezzi standard e fascette come ho visto in giro, oltre a essere bruttini, servono a poco, diciamo... Oltretutto quelli fatti bene saranno necessariamente diversi da bici a bici (o quasi), comunque almeno da un tipo di forca all'altro, onde per cui dovrebbero essere fatti a mano. Ecco perchè non li abbiamo ancora proposti. Ribadisco il concetto: è verissimo che in giro ci sono leghe di alluminio molto più valide di qualsiasi acciaio, ma è difficile che si trovino su forche economche. Molto più sicuro un comune acciaio al carbonio, allora. Le forche in alluminio economiche con i foderi fusi non usatele. L'attenzione per la forcella è la prima avvertenza sul nostro foglio istruzioni che diamo con i kit e anche sul sito, di fianco a ogni kit abbiamo messo quelle istruzioni on line. Non datemi dispiaceri. Comunque sarei curioso di poter verificare quante forche di quelle che hanno tradito manneron si sono rotte anche senza motore. In fondo, basta stringere un dado sbilenco per fiaccare un pezzo di alluminio fuso in lega scadente.... |
 |
|
|
blindo7
Utente Master
    

Lazio
4057 Messaggi |
Inserito il - 23/12/2008 : 18:53:24
|
Il movimento del motore fa leva sul perno asse diciamo rettangolare e quindi tende ad aprire i forcellini,l'ideale sarebbe averli chiusi ma poi come monti la ruota?
Un'altro stress è la forza motrice sul cannotto perchè la forcella magari è studiata e rinforzata per assorbire la leva creata da frenata,buche e compressione,non il contrario, è una leva generata come se andassimo a 40km/h in retromarcia e poi inchiodi
inoltre i freni danno leva direttamente sugli steli non sull'asse
stesso discorso per gli steli delle ammortizzate,
mi sa che il ferro è la meglio cosa,si piega ma non si spezza,
si potrebbero fare delle rondelle grandi a C che abbracciano il forcellino,meglio di niente,ciao |
www.enerlab.it |
 |
|
|
paguro
Utente Attivo
  

Lombardia
820 Messaggi |
Inserito il - 23/12/2008 : 19:08:23
|
Scusate, ma come si riconosce una forcella scadente da una di buona fattezza?
Io ho un motore posteriore, però sono un po' preoccupato dal fatto che i miei freni sono sollecitati molto di più dall'aumento di peso. Sul cerchione c'è sempre una polverina nera proveniente (penso) dai gommini del freno V brake. Vorrei stare tranquillo... |
 |
|
|
joffa
Utente Master
    

3956 Messaggi |
Inserito il - 23/12/2008 : 19:59:42
|
Per quello direi che puoi stare tranquillo. Io, se è per quello, giro con mia figlia sula canna della bici e non ho mai avuto un problema, ne di freni nè di cannotto, ma la mia bici preferita è un vecchio rampichino di 20 anni fà, comprato a Bologna dal buon Artesiani e tutto di acciaio al cromo molibdeno, che tra l'altro, non fà un grammo di ruggine. Roba...d'altri tempi... . Anche per le sollecitazioni al cannotto, che preoccupavano tanto anche il sottoscritto, chi fà gare mi dice che se la passano ben peggio loro. Però...chi fà gare, dispone di materiale eccelente... |
 |
|
|
bodo74
Utente Attivo
  

Liguria
748 Messaggi |
Inserito il - 23/12/2008 : 20:12:32
|
QUOTO Joffa, verissimo, le forcelle sono sollecitate moltissimo, anche senza la presenza del motore, quindi in generale teniamole controllate. Sulla mia muscolare per esempio avevo notato, qualche tempo fa, una vena longitudinale che mi ha fatto preoccupare un pò, poi controllando meglio (carteggiatina leggerissima) ho constatato che si trattava solo di un graffio, però che strizza!!! (il giorno prima avevo fatto una discesa a 60 all'ora)
@ per rincuorare il povero manneron ....
http://www.youtube.com/watch?v=Nv87Rt_7JiI
questo non ha motore... ma neppure tanto cervello!!! |
www.ciclienrico.com "Cicli Enrico" Sestri Levante |
 |
|
|
pixbuster
Amministratore
    
fondatore

Veneto
12375 Messaggi |
Inserito il - 24/12/2008 : 18:24:12
|
Outside (che ci legge) mi ha comunicato la sua ipotesi per una possibile causa della rottura: l'eccessivo serraggio dei dadi di fissaggio che, vista la presenza del motore e il timore che l'asse ruoti, si porta a valori molto alti; Outside confronta lo sforzo che si esercita con una bella chiave esagonale di venti centimetri di braccio con quello di un attacco rapido originariamente montato sulla bici La sua ipotesi è che l'eccessivo serraggio possa avere danneggiato la fusione (dato che l'alluminio non è così malleabile come il ferro) |
Pix su Frisbee Atlas, su pieghevole 20" Kawasaki con kit Bafang centrale e su Cargo muscolare "artigianale"
|
 |
|
|
manneron
Utente Medio
 
401 Messaggi |
Inserito il - 25/12/2008 : 01:16:00
|
azzo, ne avessi azzeccata una. 1) perno non inserito fino in fondo 2) ranella con linguetta che deve fare leva 3) eccessivo serraggio bulloni 4) mettiamoci anche sbilanciamento della ruota e vibrazioni anomale 5) mancanza torque arm poi ce ne sono altre da non fare? |
nine continent e lifepo 36V 10A. back in business |
 |
|
|
gigi35
Utente Master
    

Emilia Romagna
2979 Messaggi |
Inserito il - 25/12/2008 : 10:36:43
|
| pixbuster ha scritto:
Outside (che ci legge)
|
un saluto ad outside. |
collaboratore video |
 |
|
|
joffa
Utente Master
    

3956 Messaggi |
Inserito il - 25/12/2008 : 10:53:14
|
| manneron ha scritto: ...poi ce ne sono altre da non fare?
|
le impennate da ganzo col sospetto che l'avantreno si stia smontando...  ...se proprio vuoi che si infierisca su di te...   |
 |
|
|
HENKA
Utente Attivo
  
Veneto
740 Messaggi |
Inserito il - 25/12/2008 : 11:25:46
|
PPPERO'... non deve essere per niente facile fare le penne col motore davanti!!!
... ieri ho fatto una penna col nine per aria davanti agli sbirri e loro muuutii |
city bike Frera, 8FUN da alcedoitalia, dennj 36V 9,5Ah x2 e cammy_cc 48v 10ah x2, watt's up | dahon Ht060 |city bike Olympia, nine 154 36v da wheelkits, dennj 36v 8,1Ah | cinesona 36v | nine fr 154 35v da solo
|
 |
|
|
manneron
Utente Medio
 
401 Messaggi |
Inserito il - 25/12/2008 : 14:31:27
|
| dovevo sapere se si staccava e come fai a saperlo senza scendere dalla bici? la mia era una prova razionale. convincetevene! |
nine continent e lifepo 36V 10A. back in business |
 |
|
|
galloz
Utente Medio
 
Liguria
220 Messaggi |
Inserito il - 25/12/2008 : 15:13:19
|
Tanti auguri di pronta guarigione manneron. Sulla questione materiale non sarei cosi drastico. Valuterei piuttosto la qualità! Qualche anno fa a 40Km/h in discesa su una MTB mi si troncò di netto una forcella di acciaio direttamente dal canotto. Fortunatamente avevo il casco..... Salutoni |
Helkama E2800 |
 |
|
|
job
Amministratore
    
fondatore

Friuli-Venezia Giulia
7772 Messaggi |
Inserito il - 25/12/2008 : 21:12:38
|
| pixbuster ha scritto:
Outside (che ci legge) mi ha comunicato la sua ipotesi per una possibile causa della rottura: l'eccessivo serraggio dei dadi di fissaggio che, vista la presenza del motore e il timore che l'asse ruoti, si porta a valori molto alti; Outside confronta lo sforzo che si esercita con una bella chiave esagonale di venti centimetri di braccio con quello di un attacco rapido originariamente montato sulla bici La sua ipotesi è che l'eccessivo serraggio possa avere danneggiato la fusione (dato che l'alluminio non è così malleabile come il ferro)
|
eccallallà, ci mancava pure questa che tra l'altro trovo piuttosto credibile, in particolare se stringendo le rondelle fanno leva da qualche parte. Sulle istruzioni dell'ezee dicono di stare attenti che le rondelle non vadano sopra il bordo rialzato:
Immagine:
 46,02 KB
Tanti saluti ad Outside, sempre con stima !!!  |
"carrarmatino" Flyer T4 30/9/2006 (22/5/2011 sostituito motore) "lancillotto" Brompton P6R + nano motor 14/12/2007 "piccola peste" Dahon Speed Pro TT 14/10/2008 "frankenstein" Trek liquid 25 + kit ezee 21/11/2008 dismessa il 28/02/2010 "jobbent" Tw-bents Adventure Plus 08/05/2009 elettrificata con ezee 350W dal 28/02/2010 "the tractor" surly pugsley 27/08/2009 + Cyclone 500 13/11/2009 "the lift" haybike eq xduro fs 12/10/2011 "bumblebee" NCM Milano 24/07/2019 "steamroller blues" NCM Aspen 19/12/2019
|
 |
|
|
gigione
Utente Medio
 
Liguria
194 Messaggi |
Inserito il - 26/12/2008 : 17:17:40
|
Ho seguito tutta questa vicenda, mi dispiace molto per manneron, deve essere una bella paura sentire l'avantreno della bici che sprofonda e trovarsi a fare delle piroette in aria. A parte stabilire le cause della rottura tutti mi sembrano concordi a non utilizzare kit su forcelle in alluminio da 20 euro. La mia domanda è la seguente, ma chi garantisce l'utente? Ovvero manneron ha montato il kit su una bici che considerava sicura, se avesse solo immaginato che cosa sarebbe successo, se ne sarebbe ben guardato. Ora lui considerava la bici sicura perche si è fidato di un marchio "prestigioso". Al di la del motore e del peso, a me sembra che quella forcella sia stata dimensionata al milligrammo. A vedere la forcella viene da pensare che se fosse capitata sotto al sedere di un omone di 120 Kg con magari uno zaino sulle spalle e 2 kg di spesa nel portapacchi, al primo tombino un po più profondo sarebbe successo uguale. Ho capito che la bici più è leggera e meglio è. Ma mettere in commercio certe cose! e vero che la forcella e di qualita medio bassa, ma e anche vero che manneon ha comprato una bici decente e la pagata un prezzo decente. Tutti siamo portati a sconsigliare l'installazione dei kit sulle bici da supermercato, ma se uno si affida ad un grande marchio come fa a capire che la componentistica non è di livello adeguato? |
 |
|
|
joffa
Utente Master
    

3956 Messaggi |
Inserito il - 26/12/2008 : 23:05:35
|
Per quanto riguarda la forcella, che è il soggetto della questione, sia sulle istruzioni di montaggio del kit sia su tutti i forum europei, si sconsiglia l'uso di forcelle in alluminio a meno che non siano di PROVATA qualità cioè fatte di leghe robuste lavorate seriamente e questo appunto non perchè non esistano leghe adeguate, ma priprio perchè è facile prendere una cantonata, mentre se anche prendi una cantonata, ma hai una forcella in acciaio, almeno il modo di cedere di quest'ultima è meno pericoloso, perchè ti dà il tempo di reagire e di fermarti. Per quanto riguarda la qualità delle bici...leggete di che materiale sono fatte, componente per componente e se non trovate la descrizione, lasciate perdere. Non è nemmeno una questione di prezzo, perchè sicuramente una bici tutta in acciaio al cromo molibdeno (forcella compresa) il buon manneron l'avrebbe pagata sicuramente meno di quella che l'ha tradito. |
 |
|
|
HENKA
Utente Attivo
  
Veneto
740 Messaggi |
Inserito il - 27/12/2008 : 09:09:29
|
| Mi sento di escludere che con un utilizzo normale e senza motore quella forcella si sarebbe rotta. Mio cugino ha fatto molti ma molti km su una olympia con telaio in alluminio e forcella zoom 140 series (i foderi sembrano uguali)... ops! dimenticavo... mio cugino è poco + alto di 2 metri e passa abbondantemente i 2 quintali... ha rotto solo qualche raggio e mi sembra 4 o 5 cannotti sella (sull'aggancio della sella). |
city bike Frera, 8FUN da alcedoitalia, dennj 36V 9,5Ah x2 e cammy_cc 48v 10ah x2, watt's up | dahon Ht060 |city bike Olympia, nine 154 36v da wheelkits, dennj 36v 8,1Ah | cinesona 36v | nine fr 154 35v da solo
|
 |
|
|
gigione
Utente Medio
 
Liguria
194 Messaggi |
Inserito il - 27/12/2008 : 13:51:57
|
Io mi riferivo proprio al fatto che il prezzo non implica niente e lo dimostra la brutta esperienza del nostro amico. Il fatto che ci siano produttori che si permettano di installare componentistica da pochi spiccioli su punti nevralgici della bici, mi lascia alquanto amareggiato. La mia voleva essere un po una provocazione, credo che nessuno nell'utilizzo di tutti giorni avrebbe avuto problemi con quella forcella, ma resta il fatto che il produttore si è fatto pagare un tot e ha installato una forcella da molto meno, ma sitamo parlando di un marchio prestigioso. E' questo che a me fa arrabbiare. Per quanto rigurada i kit credo che dovrebbero essere muniti di arms un po piu lunghi e in modo da farli lavorare sui bracci della forcella come si faceva con i freni a tamburo di una volta. Del resto se la forcella è in grado di tenere la coppia che arriva dal pattino in frenata è anche in grado di reggere la coppia dell'Hub. Basta solo dare un braccio sufficente alla leva. Per il resto siamo d'accordo che valgano le regole del buin senso. Tuttavia credo che il buon senso sia facilemete ingannabile di questi tempi.
|
 |
|
|
_Gi_
Utente Medio
 
Sicilia
117 Messaggi |
Inserito il - 27/12/2008 : 15:41:02
|
Il cosiddetto "buon senso" ha ingannato molti e non solo nei tempi odierni, anzi! Basta pensare che appena 4 o 5 secoli fa il "buon senso" comune escludeva che potessero esistere, dall'altra parte del mondo, persone "capovolte" rispetto a "noi"! Scusate la digressione...     |
Nine Fh154 36V250W al Pb-gel9Ah |
 |
|
|
pixbuster
Amministratore
    
fondatore

Veneto
12375 Messaggi |
Inserito il - 27/12/2008 : 16:49:02
|
Esprimo un paio di pensieri:
Le nuove norme di omologazione Uni-En per le bici prevedono le prove di fatica che tendono proprio ad escludere la possibilà di cedimenti del telaio; forse una bici che ha superato i test qualche garanzia in più la dà; e dà anche la possibilità di un risarcimento (anche se con tutte le problematiche note per ottenere giustizia)
Lo sforzo esercitato sulla forcella durante la frenata è orientato verso l'indietro ed è per questo tipo di sollecitazione che le forcelle sono calcolate Invece lo sforzo esercitato dal motore si manifesta come un "tiro" in avanti; e questa sollecitazione non è stata sicuramente presa in esame dai progettisti
Un altro sforzo che si manifesta con l'applicazione del motore è quello sulle asperità del terreno: anche in questo caso la forcella è pensata per sopportare il peso di una ruota e non di altri 5 kg (che sono molto di più del peso della ruota)
Quello che intendo lo espemplifico con questo esperimento virtuale: prendo una riga di plastica di quelle per disegnare; la tengo con una mano per una estremità e faccio oscillare l'altra estremità come uno schermidore con il fioretto; per riuscire a romperla devo farla oscillare con molta violenza e, mettendoci dell'impegno, probabilmente ci riesco
adesso lego all'estremità libera un fermacarte; rimetto in oscillazione la riga che fa subito oscillazioni molto più ampie di prima .... e la rompo con facilità Questo avviente perchè l'energia che accumula il fermacarte, posto nel punto più lontano dalla mia mano, è molto più elevata di quella che accumula il solo peso della riga e supera facilmente la resistenza della plastica (questa cosa si chiama "momento di inerzia" e cresce proporzionalmente con l'aumento della massa e della distanza)
Da qui a capire perchè i forcellini dello sfortunato Manneron si sono rotti ne passa parecchio, ma credo che siano principi meccanici che occorre tener presenti quando si modifica una bici
|
Pix su Frisbee Atlas, su pieghevole 20" Kawasaki con kit Bafang centrale e su Cargo muscolare "artigianale"
|
 |
|
|
elle
Utente Master
    
fondatore

17605 Messaggi |
Inserito il - 27/12/2008 : 18:08:57
|
quoto pix (o meglio imparo da lui) ma aggiungo due noticine
| pixbuster ha scritto: forse una bici che ha superato i test qualche garanzia in più la dà; e dà anche la possibilità di un risarcimento |
credo che nessun fabbricante di bici classiche mantenga in vigore la garanzia su forcella, telaio o altri componenti in caso di elettrificazione (solo in un caso mi pare, una forcella è stata progettata per accogliere il motore sanyo, da un fabbricante di cui adesso mi sfugge il nome) --- è una cosa da tenere presente quando si elettrifica una bici
| in questo caso la forcella è pensata per sopportare il peso di una ruota e non di altri 5 kg (che sono molto di più del peso della ruota)
|
una delle ragioni per cui mi sono fissato con le bici da turismo (che in italia non si fanno) è che queste sono progettate, nelle geometrie e nei materiali, per restare stabili e affidabili anche con grossi carichi: nello specifico, le forcelle di queste bici sono abitualmente attrezzate con attacchi per portapacchi anteriori o low-rider per un carico garantito di oltre 10kg... ovviamente non è lo stesso per bici di impianto più sportivo o semplicemente meno esperto
|
l.
giant lafree, 2006 - brompton M3L, 2007 - flyer T8, 2008 - xootr swift, 2009 - specialized tricross, 2012 - tag egolite, 2014 |
 |
|
|
gigione
Utente Medio
 
Liguria
194 Messaggi |
Inserito il - 27/12/2008 : 22:28:31
|
Sul fatto di utilizzare meccaniche robuste su cui installare i kit ormai siamo tutti d'accordo. Riguardo agli arms sui kit, credo di essermi espresso male. Intendevo solo dire che forse sarebbe meglio aumentarne la leva sia per diminuire la quatita di newton che sfogano sul punto di appoggio e sia per avicinare il punto di appoggio al canotto di sterzo. In questo modo la forcella risulta sicuramente meno sollecitata. |
 |
|
|
job
Amministratore
    
fondatore

Friuli-Venezia Giulia
7772 Messaggi |
Inserito il - 28/12/2008 : 01:56:44
|
|
| in questo caso la forcella è pensata per sopportare il peso di una ruota e non di altri 5 kg (che sono molto di più del peso della ruota)
|
una delle ragioni per cui mi sono fissato con le bici da turismo (che in italia non si fanno) è che queste sono progettate, nelle geometrie e nei materiali, per restare stabili e affidabili anche con grossi carichi: nello specifico, le forcelle di queste bici sono abitualmente attrezzate con attacchi per portapacchi anteriori o low-rider per un carico garantito di oltre 10kg... ovviamente non è lo stesso per bici di impianto più sportivo o semplicemente meno esperto
|
Tutti discorsi molto validi sulle forcelle in genere, ma questa rottura sui forcellini anteriori è veramente particolare.
Teniamo presente che sull'avantreno ci va anche parte del peso del ciclista, quindi le forcelle dovrebbero reggere almeno almeno 40kg.
Poi ricordiamoci che la ruota in condizioni normali non pesa sulla forcella, semmai è l'opposto, è la forcella (e tutto cio' che sta sopra) che pesa sulla ruota.
Ho guardato innumerevoli filmati di forcelle rotte su youtube, tutte si spezzano in alto all'altezza della serie sterzo (a volte è questa a cedere). Ho visto qualcuna in carbonio rotta sui bracci, ma nessuna sui forcellini. Il che è logico, in caso di ostacoli (che finiscono sotto la ruota) o per atterraggio da un salto la forza d'urto è lungo l'asse della forcella, dal basso verso l'alto e da davanti verso dietro. Se la direzione della forza è parallela all'asse della forcella difficile che succeda niente, i guai avvengono quando la forza ha un angolo diverso.
Tutto questo mi fa venire in mente un'altra fantasiosa teoria sul danno di manneron: per me tutto potrebbe essere avvenuto all'atterraggio dell'impennata. In particolare se il motore era in accelerazione mentre la ruota era staccata da terra, il forte impatto col terreno avrebbe fatto da repentino rallentamento del motore (direi un blocco per una frazione di secondo) con sviluppo di una forza notevole sul forcellino, sommata a quella altrettanto notevole dell'impatto a terra. E in questo caso più uno va piano e peggio è l'impatto.
Per far capire le forze in gioco quando si atterra violentemente da un'impennata (o salto o scalino): un peso di soli 20kg che cade da mezzo metro su terreno indeformabile se ha un impatto a terra della durata di un centesimo di secondo (pensiamo ad una biglia che rimbalza) subisce una forza contraria di ben 600kg ! 
E' per questo che nei salti con bici e moto si cerca di ammortizzare il tutto (vedi gomme, raggi,molle ma anche gambe, braccia...), più si allunga la durata dell'impatto più la forza diminuisce. Lo stesso peso di 20kg se facciamo durare l'impatto 3 decimi di secondo subirebbe una forza pari al suo peso.
Non per niente di solito nei libretti d'istruzione la discriminante tra una forcella e l'altra è "puo' o non puo' fare salti".
Da un libretto Marzocchi:
Forcella indicata per il fondo, escursionismo, fuoristrada. Idonea per gare di cross country e maratone. Non adatta ad usi estremi tipo free style. Da non utilizzare per gare di salto
E poi ho trovato anche questa riga:
La forcella da Lei acquistata è stata progetta secondo la norma ISO TC 149 (Sicurezza per biciclette utilizzate per uso fuori strada e terreno accidentato
Sarei curioso di sapere cosa è scritto nel libretto delle ZOOM .
|
"carrarmatino" Flyer T4 30/9/2006 (22/5/2011 sostituito motore) "lancillotto" Brompton P6R + nano motor 14/12/2007 "piccola peste" Dahon Speed Pro TT 14/10/2008 "frankenstein" Trek liquid 25 + kit ezee 21/11/2008 dismessa il 28/02/2010 "jobbent" Tw-bents Adventure Plus 08/05/2009 elettrificata con ezee 350W dal 28/02/2010 "the tractor" surly pugsley 27/08/2009 + Cyclone 500 13/11/2009 "the lift" haybike eq xduro fs 12/10/2011 "bumblebee" NCM Milano 24/07/2019 "steamroller blues" NCM Aspen 19/12/2019
|
 |
|
|
manneron
Utente Medio
 
401 Messaggi |
Inserito il - 28/12/2008 : 02:33:38
|
| no. nessuna impennata. e io peso 53kg, 55 dopo le feste. |
nine continent e lifepo 36V 10A. back in business |
 |
|
|
HENKA
Utente Attivo
  
Veneto
740 Messaggi |
Inserito il - 28/12/2008 : 11:23:08
|
| ma, secondo me, una forcella dovrebbe reggere almeno un 200kg... avete presente le staccatone a ruota porteriore alzata? quanti kg ci arrivano sui focellini? ed è solo una frenata, seppur generosa! |
city bike Frera, 8FUN da alcedoitalia, dennj 36V 9,5Ah x2 e cammy_cc 48v 10ah x2, watt's up | dahon Ht060 |city bike Olympia, nine 154 36v da wheelkits, dennj 36v 8,1Ah | cinesona 36v | nine fr 154 35v da solo
|
 |
|
|
gigione
Utente Medio
 
Liguria
194 Messaggi |
Inserito il - 28/12/2008 : 13:45:18
|
Non ricordo bene che coppia puo dare un hub ma suppongo che sia in grado di dare 5 kg/m circa. se adeguamo la forza ad una leva di 1 cm otteniamo 500kg. questo è il dato di coppia che agisce sul perno ruota mentre il motore eroga poteza. Questa coppia si ripartisce sui bulloni che tengono serrata la ruota e i torque arms. Sommata ad un generoso effetto di percussione dinamica che viene dalle asperità del terreno. Tutto va sui forcellini non mi stupisce che si sbriciolino se in alluminio. Ma secondo me anche i forcelini in acciaio non fanno una bella vita. Secondo me per aumentare la sicurezza bisognerebbe studiare dei torque arms più lunghi che (con 10cm la forza diventa gia di 50kg) di modo da diminuire le sollecitazioni alla forcella. |
 |
|
|
elle
Utente Master
    
fondatore

17605 Messaggi |
Inserito il - 28/12/2008 : 16:40:58
|
non so se può essere utile a chi "ha occhio", ma ecco il link alla forcella suntour progettata apposta per il motore sanyo: la forcella è in alluminio, più larga del solito per accettare quel motore che richiede oltre 12cm (e che, ricordo, non è particolarmente potente: è quello, per intenderci, che è montato all'anteriore delle attuali giant elettriche)
|
l.
giant lafree, 2006 - brompton M3L, 2007 - flyer T8, 2008 - xootr swift, 2009 - specialized tricross, 2012 - tag egolite, 2014 |
 |
|
|
joffa
Utente Master
    

3956 Messaggi |
|
|
job
Amministratore
    
fondatore

Friuli-Venezia Giulia
7772 Messaggi |
Inserito il - 29/12/2008 : 16:04:20
|
| elle ha scritto:
non so se può essere utile a chi "ha occhio" ...
|
Il mio occhio vede solo che i 2 forcellini non sono uguali:
uno ha sezione quadrata e fori per fissare un torquearm, l'altro sembra tradizionale.
Immagine:
 6,06 KB
@Gigione: seguendo il tuo discorso... per fare un esempio, nessun motore della serie "4" della crystalyte raggiunge i 22Nm di coppia all'asse che è uguale a 2,2kg/m. Solo supponendo di tenere bloccata la ruota pero' (ecco perche' penso ci voglia un urto o un forte attrito), questi 2,2 kg/m si traducono in una forza trattenuta per lo più (anche i dadi stessi aiutano un poco a tenere fermo il perno) dai forcellini in particolare nei punti di spigolo dell'asse. Questa forza viene trattenuta in 4 punti: 2 forcellini (dx e sx) e 2 rebbi (anteriore e posteriore).
Quindi 2,2kg divisi per 0,005 (raggio dell'asse) / 4 = circa 112kg
Spero di non aver detto una corbelleria, l'idea è questa, che poi si rompano davanti credo sia dovuto alla maggior leva come ha già detto qualcuno. Tutti questi kg pero' se la ruota è libera di girare finiscono alla ruota, non ai forcellini (l'asse si puo' tenere fermo anche con 2 dita). Io penso all'elicottero che per non farlo girare su se stesso basta la piccola elica di coda, ma se qualcosa blocca le pale, chi lo ferma?
Ecco un disegno volutamente esagerato per rendere l'idea:
Immagine:
 38,38 KB
|
"carrarmatino" Flyer T4 30/9/2006 (22/5/2011 sostituito motore) "lancillotto" Brompton P6R + nano motor 14/12/2007 "piccola peste" Dahon Speed Pro TT 14/10/2008 "frankenstein" Trek liquid 25 + kit ezee 21/11/2008 dismessa il 28/02/2010 "jobbent" Tw-bents Adventure Plus 08/05/2009 elettrificata con ezee 350W dal 28/02/2010 "the tractor" surly pugsley 27/08/2009 + Cyclone 500 13/11/2009 "the lift" haybike eq xduro fs 12/10/2011 "bumblebee" NCM Milano 24/07/2019 "steamroller blues" NCM Aspen 19/12/2019
|
 |
|
|
pixbuster
Amministratore
    
fondatore

Veneto
12375 Messaggi |
Inserito il - 29/12/2008 : 18:45:05
|
| job ha scritto: Tutti questi kg pero' se la ruota è libera di girare finiscono alla ruota, non ai forcellini (l'asse si puo' tenere fermo anche con 2 dita)
|
Quoto tutto quello che hai scritto escluso la parte qui sopra
La coppia che si scarica a terra tramite la ruota ha una "reazione uguale e contraria" che si scarica sul perno: non si può scappare da questo principio fisico
Il perno non lo puoi trattenere con due dita se non quando la ruota gira a vuoto perciò solo quando devi contrastare la coppia necessaria a vincere gli attriti Se il motore genera una coppia di 1kgm, tu devi esercitare una coppia di 1kgm per non farlo girare
((( l'elichetta posteriore dell'elicottero ... è grande come quella di un superleggero e potrebbe tirare tutto l'elicottero; se blocchi il rotore interviene invece il "momento inerziale", cioè l'energia accumulata per portare in rotazione le pale, che in una elica così grande è altissimo))))
|
Pix su Frisbee Atlas, su pieghevole 20" Kawasaki con kit Bafang centrale e su Cargo muscolare "artigianale"
|
 |
|
|
HENKA
Utente Attivo
  
Veneto
740 Messaggi |
Inserito il - 29/12/2008 : 19:08:19
|
| può centrare anche il fatto che non essendoci rondella tra la forcella e l'hub questultima poggia su pochi mm rispetto ad una ruota normale che è più generosa in quel senso? magari una rondella grande come il dado di serraggio avrebbe dissipato meglio lo sforzo? il perno ruota ha diametro 15mm dove fa presa sulla forcella tolta la parte filettata resta prorpio poco! |
city bike Frera, 8FUN da alcedoitalia, dennj 36V 9,5Ah x2 e cammy_cc 48v 10ah x2, watt's up | dahon Ht060 |city bike Olympia, nine 154 36v da wheelkits, dennj 36v 8,1Ah | cinesona 36v | nine fr 154 35v da solo
|
 |
|
|
gigione
Utente Medio
 
Liguria
194 Messaggi |
Inserito il - 29/12/2008 : 21:19:39
|
| A me non tornano tanto i 22Nm con 250W mi aspettavo un qualcosina di più, mi sembrava di ricordare che il motore della mia beauty fosse in grado di erogare sui 60 newton/metro. |
 |
|
|
Barba 49
Utente Master
    

Toscana
36594 Messaggi |
Inserito il - 29/12/2008 : 22:39:25
|
| Concordo con Henka: se andate a leggere le istruzioni di montaggio dei kit Nine, si dice di inserire la rondella torque arm tra il mozzo e i forcellini. Essendo costruita in acciaio, e assai larga , distribuisce il carico su una superfice maggiore... |
 |
|
|
job
Amministratore
    
fondatore

Friuli-Venezia Giulia
7772 Messaggi |
Inserito il - 29/12/2008 : 23:05:52
|
| pixbuster ha scritto:
| job ha scritto: Tutti questi kg pero' se la ruota è libera di girare finiscono alla ruota, non ai forcellini (l'asse si puo' tenere fermo anche con 2 dita)
|
Quoto tutto quello che hai scritto escluso la parte qui sopra
La coppia che si scarica a terra tramite la ruota ha una "reazione uguale e contraria" che si scarica sul perno: non si può scappare da questo principio fisico
Il perno non lo puoi trattenere con due dita se non quando la ruota gira a vuoto perciò solo quando devi contrastare la coppia necessaria a vincere gli attriti Se il motore genera una coppia di 1kgm, tu devi esercitare una coppia di 1kgm per non farlo girare
((( l'elichetta posteriore dell'elicottero ... è grande come quella di un superleggero e potrebbe tirare tutto l'elicottero; se blocchi il rotore interviene invece il "momento inerziale", cioè l'energia accumulata per portare in rotazione le pale, che in una elica così grande è altissimo))))
|
Hai ragione Pix, dovevo piuttosto dire che nell'uso normale il motore chiede molta meno coppia di quando è violentemente frenato. L'esempio dell'elicottero non è azzeccato. Comunque intendevo appunto che tengo fermo l'asse con 2 dita se la ruota non incontra alcuna resistenza perche' la coppia e i watt saranno bassi in quanto il motore cerca sempre il massimo risultato col minimo sforzo 
Provo con un altro esempio: faccio un buco con il trapano, è vero che devo vincere con la mia forza la coppia controrotante, ma credo che i più non se ne siano neanche accorti. Mentre se la punta si blocca (e il trapano è potente e non va subito arrosto) il nostro polso si prende una bella svirgolata perche' la coppia va alle stelle. Spero sia più calzante.
@ gigione: la coppia l'ho presa dalle tabelle della crystalyte al massimo rendimento del motore (4011 a 48volt 15A ha 21 Nm a 352W e 106 giri minuto). Tieni presente che sono motori gearless, ma anche il nine che ha rotto la forcella lo è .
|
"carrarmatino" Flyer T4 30/9/2006 (22/5/2011 sostituito motore) "lancillotto" Brompton P6R + nano motor 14/12/2007 "piccola peste" Dahon Speed Pro TT 14/10/2008 "frankenstein" Trek liquid 25 + kit ezee 21/11/2008 dismessa il 28/02/2010 "jobbent" Tw-bents Adventure Plus 08/05/2009 elettrificata con ezee 350W dal 28/02/2010 "the tractor" surly pugsley 27/08/2009 + Cyclone 500 13/11/2009 "the lift" haybike eq xduro fs 12/10/2011 "bumblebee" NCM Milano 24/07/2019 "steamroller blues" NCM Aspen 19/12/2019
|
 |
|
|
manneron
Utente Medio
 
401 Messaggi |
Inserito il - 30/12/2008 : 03:25:50
|
sono andato a cambiare forcella. metto una giant di acciaio non amortizzata con supporto per eventuale portapacchi anteriore. sembra robusta. ha detto che non ha mai visto rotture a quel livello lì. devo correggere una cosa: non è stato il filo della alimentazione del motore a trattenere la ruota in sede dopo lo sgancio, ma i pattini dei freni. me ne sono accorto quanto ho tolto la ruota che non usciva a causa dei pattini e ho dovuto sgonfiarla. anche questa ora sembra una cosa ovvia, lo sanno tutti che bisogna sgonfiare la ruota per toglierla, ma come al solito bisogna provare per rendersi conto o ci si dimentica. occhio a teorie eccessivamente elaborate. la spiegazione può essere banale. a parer mio è questa e deriva dai post precedenti la ruota aveva un leggero sbilanciamento, questo causa una leva alternata sui due uncini, prima da una parte e poi dall'altra.uno dei due cede, quindi tutta il peso fa leva sull'altro che ovviamente facilmente fa crack. il problema per me è lo sbilanciamento della ruota e il pessimo metallo probabilmente. |
nine continent e lifepo 36V 10A. back in business |
 |
|
|
HENKA
Utente Attivo
  
Veneto
740 Messaggi |
Inserito il - 30/12/2008 : 11:22:01
|
| io preferisco "sganciare" i v-brake |
city bike Frera, 8FUN da alcedoitalia, dennj 36V 9,5Ah x2 e cammy_cc 48v 10ah x2, watt's up | dahon Ht060 |city bike Olympia, nine 154 36v da wheelkits, dennj 36v 8,1Ah | cinesona 36v | nine fr 154 35v da solo
|
 |
|
|
gigi35
Utente Master
    

Emilia Romagna
2979 Messaggi |
Inserito il - 31/12/2008 : 13:08:45
|
| manneron ha scritto: me ne sono accorto quando ho tolto la ruota che non usciva a causa dei pattini e ho dovuto sgonfiarla. anche questa ora sembra una cosa ovvia, lo sanno tutti che bisogna sgonfiare la ruota per toglierla
|
| HENKA ha scritto:
io preferisco "sganciare" i v-brake
|
ciao manneron mi dispiace per quel che ti e' successo,forse henka si riferisce a quello che faccio vedere nelle foto,io questa cosa l'ho imparata questa estate,ogni volta che caricavo una o due bici in macchina sgonfiavo le ruote anteriori per poterle togliere dalla forcella,mentre spiegavo questa cosa ad uno straniero dell'est che non ha neanche la bici mi ha detto:"Ma non e' piu' facile aprire i freni?" io ho pensato che dato che non e' italiano madrelingua non si spiegasse bene,dopo un po' di discussione ci siamo avvicinati alla bici di uno che conosciamo ed in tre secondi ho scoperto una cosa che non avevo scoperto in 30anni! 
Immagine:
 60,11 KB
Immagine:
 62,12 KB
Immagine:
 60,28 KB |
collaboratore video |
 |
|
|
Fabio T
Utente Senior
   
Lombardia
1419 Messaggi |
Inserito il - 31/12/2008 : 13:59:11
|
| Infattoi i v-brake son freni ad apertura rapida, talvolta però il pirulotto del cavo del freno si incastra nell'alloggiamento sulla punza del freno e ne rende difficile lo smontaggio, lo stesso se il cavo freni è parecchio tirato (poco gioco della leva dei freni per dare intervendo del freno appena si tocca la leva el freno) |
Fabio T - Italic Chinese Biker (1700 Km Coolthings - 4000 Km Frisbee - 400 Km Specialbikes pieghevole - 3000 Km ElettroBugno - 700 Km Atale E-Green) |
 |
|
|
dumil
Utente Senior
   

Lazio
1484 Messaggi |
Inserito il - 31/12/2008 : 17:05:04
|
in effetti gigi, questa cosa è possibile solo con i v-brake, quindi diciamo che puoi abbuonarti un bel po' di anni.
|
Crystalyte 406 rear - 48v 20Ah su mtb Alpinestars www.avanzidipopolo.it |
 |
|
|
gigi35
Utente Master
    

Emilia Romagna
2979 Messaggi |
Inserito il - 01/01/2009 : 08:22:50
|
| Fabio T ha scritto:
Infattoi i v-brake son freni ad apertura rapida, talvolta però il pirulotto del cavo del freno si incastra nell'alloggiamento sulla punza del freno e ne rende difficile lo smontaggio, lo stesso se il cavo freni è parecchio tirato (poco gioco della leva dei freni per dare intervendo del freno appena si tocca la leva el freno)
|
confermo! infatti il mio cavo freni e' molto tirato e uso tutte e due le mani per fare un po' di forza ed aprire i freni mentre ho visto che se il cavo e' piu' molle ci si riesce con una mano sola
| dumil ha scritto:
in effetti gigi, questa cosa è possibile solo con i v-brake, quindi diciamo che puoi abbuonarti un bel po' di anni.
|
ok,mi abbuono un po' di anni  |
collaboratore video |
 |
|
|
roberto_78
Utente Medio
 
Abruzzo
233 Messaggi |
Inserito il - 04/01/2009 : 21:13:00
|
Ciao a tutti... mi spiace per quanto successo...mi son letto tutto la discussione e la mia personale opinione è che la forcella ha cedutto per il tipo di lega di alluminio di cui era fatta. certo che è una bella fregatura quando si crede di aver acquistato un buon prodotto... da un pò ho intraprerso un'attività di retrofit elettrico su bici normali (per quanti non hanno tempo e voglia di farselo da se) e questo che è successo mi ha fatto un pò pensare. sto facendo realizzare in inox, e tra un pò sarà disponibile sul mio sito, una soluzione al problema, almeno per essere più sicuri che di questi episodi non ne esistano più (almeno si spera). un torque arms che "abbracci" i due forcellini per evitare la loro tendenza ad "aprirsi" sotto la coppia del motore.
|
ZEROVet - Retrofit Elettrico - Vendita Batterie e accessori - www.zerovet.it |
 |
|
|
Linuxianox
Utente Medio
 

456 Messaggi |
Inserito il - 06/02/2009 : 16:16:23
|
| dumil ha scritto:
in effetti gigi, questa cosa è possibile solo con i v-brake, quindi diciamo che puoi abbuonarti un bel po' di anni.
|
Su una bici tipo da corsa ho dei freni ad archetto Campagnolo che hanno una leva tramite la quale si allargano immediatamente ed è anche molto più pratica, oltre che meno faticoso, del sistema adottato con i v-brake. La bici ha forse 25 anni. |
AntonioMan City Bike Esperia 28" modded with Crystalyte kit 408 powered by Cammy_CC 48V/20Ah LiFePo4 (850km crossed with 4 x SLA 12V/7Ah now totally dead!) |
 |
|
|
uuuyea
Utente Master
    

2051 Messaggi |
Inserito il - 07/02/2009 : 01:14:18
|
In questi giorni infatti mi sono preoccupato molto per la buona salute della mia forcella in acciaio. Alcuni dicono che anche l'acciao si rompe si è vero ma è molto più difficile che accada! Diffidate dell'alluminio se non cambiate la bici ogni anno ! Questo incidente di manneron mi fà quasi venir voglia di comprarmi un bel telaio accaio cromo oversize e forcella anch'essa oversize. Mi ricordo i tempi in cui andavo sul form di mtb ad inveire contro l'alluminio ed il carbonio dopo aver visto la sezione "telai rotti" roba da far rabbrividire e da far voglia di andare sempre a 20 km/h. W l'acciaio oversize! |
Hai bisogno di aiuto? è disponibile il libro "Due Ruote e un Elettrone" >>> http://goo.gl/857ryG |
 |
|
|
manneron
Utente Medio
 
401 Messaggi |
Inserito il - 07/02/2009 : 19:03:43
|
ho optato per mettere questa qui. solo che devo andarmi a prendere un parafango nuovo, quello vecchio non ci sta più. ne avrei preferita una più grossa ma pare che questo sia lo standard per l'accciaio. la bici si comporta bene. sembra molto più stabile rispetto alla amortizzata, sento di più le buche ma non è un problema. molto più reattiva ora. solo che mi cago addosso ad ogni buca perchè ho una discreta paura ora.
Immagine:
 97,74 KB
Immagine:
 91,62 KB
mi sa che devo cercarmi un thumb nuovo. Immagine:
 68,38 KB |
nine continent e lifepo 36V 10A. back in business |
 |
|
|
uuuyea
Utente Master
    

2051 Messaggi |
Inserito il - 07/02/2009 : 22:16:38
|
manneron ti devo avvertire che c'è un errore nel montaggio della bulloneria, devi togliere il distanziatore tra dado e rondella anticoppia, il dado deve mordere con la zigrinatura la rondella anticoppia altrimenti si svita. Hai messo anche una rondella fra il motore e la forcella ? Quella forcella rigida è identica alla mia. |
Hai bisogno di aiuto? è disponibile il libro "Due Ruote e un Elettrone" >>> http://goo.gl/857ryG |
 |
|
|
joffa
Utente Master
    

3956 Messaggi |
Inserito il - 07/02/2009 : 22:55:40
|
@manneron: col nuovo carico abbiamo anche i manettini sfusi come ricambi. Con l'acciaio di una buona MTB di problemi non ce ne sono. Il mio rampichino ha 20 anni e passa e ci porto a scuola mio figlio: lo metto sulla canna della bici. Lui pesa 40 Kg, io 110, totale 150 Kg e via col Nine che tira come un leopardo (bella questa , eh?). Arriviamo a sKuola in 10 minuti facendo strade e stradine senz'auto, parchetti pubblici e traversate sui prati. Ora che siamo sotto le elezioni del nuovo sindaco, le piste ciclabili si sono moltiplicate... e la periferia di Bologna è connessa tra Casalecchio e San Lazzaro da un percorso ciclabile di circa 15 km che si snoda tra tutti i giardinetti che ci sono. SI potrebbe vivere sempre e soltanto in bici...elettrica naturalmente. In lontananza...il girone dei motorizzati...a scoppio. Il mio rampichino è in acciaio al cromo molibdeno di uno spessore tale che con 150Kg sopra e il Nine a manetta il telaio non ha mai flettuto neanche per un attimo. La forcella è anch'essa nello stesso materiale ed è cilindrica. Sembra un fucile a canne mozze. L'unico problema è il male al culo...ho dovuto metterci una sella in gel di quelle megaspesse. Ci avevo messo anche i Big Apple, ma portan via troppa energia se non li tieni gonfissimi. Però sono molto belli. I vecchi cantilever li ho sostituiti con i V-brake Deore e il manubrio un pezzo di tecnologia a diametro variabile in alluminio serie 6000 a triplo spessore: non conosce flessione... Le tre corone le ho sostituite con ltre tre molto più grandi che ho trovato da Decathlon (ci stanno per un pelo). Avrei 7 rapporti, ma ne uso sì e no tre. Quando inserisco quelli più lunghi con la corona grande, con una pedalata passo tutti i Giardini Margherita . Preferisco pedalare e usare il PAS, modificato col Geomag...così posso anche andare senza mani...ma a maneetta...   La batteria (LifePo4 15Ah-48V-7,5kg) sta sopra a un portapacchi Giant in acciaio con dichiarati 25 Kg di carico! Una macchina da guerra ! |
 |
|
|
pitta00
Utente Attivo
  
Liguria
769 Messaggi |
Inserito il - 08/02/2009 : 00:32:21
|
E... le foto joffa, le foto! Please.  |
Jobiker, su: Hop Town 20' |
 |
|
|
Linuxianox
Utente Medio
 

456 Messaggi |
Inserito il - 08/02/2009 : 10:58:49
|
Ehi joffa ci troviamo entrambi a Bologna e ancora non ci siamo visti!! Qui urge un incontro!   Anche perchè voglio proprio vedere questa macchina da guerra!!    |
AntonioMan City Bike Esperia 28" modded with Crystalyte kit 408 powered by Cammy_CC 48V/20Ah LiFePo4 (850km crossed with 4 x SLA 12V/7Ah now totally dead!) |
 |
|
Discussione  |
|